Honors firedelte foldbare smarttelefon med origami-design
Honor har patentert en uvanlig smarttelefon med fire bøyningslinjer, som kan transformeres fra nettbrettstørrelse til lommevennlig format. Les om utfordringer og potensial.
Honor har patentert en uvanlig smarttelefon med fire bøyningslinjer, som kan transformeres fra nettbrettstørrelse til lommevennlig format. Les om utfordringer og potensial.
© Weibo / Whylab
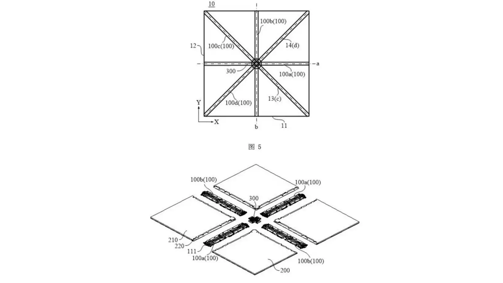
Honor har publisert et patent for en uvanlig foldbar smarttelefon med fire bøyningslinjer. Dokumentasjonen sammenligner enheten med origami, og antyder at en stor fleksibel skjerm kan bøyes på flere steder. Dermed kan den transformeres fra et nesten nettbrettstort eller til og med "bærbarlignende" format til en kompakt enhet som får plass i lommen.
Mens typiske "skjellformede" design bøyes én gang, og tredoble-folding-konstruksjoner legger til et ekstra hengsel og en ekstra skjermdel, gjør et firedelt oppsett ingeniørarbeidet betydelig mer komplisert. I en slik enhet må det fleksible panelet tåle flere bøyningspunkter uten akselerert slitasje, synlige folder eller redusert holdbarhet. Spesielle krav gjelder også for hengselsystemet, hvor selv en liten feiljustering av én komponent kan forstyrre hele mekanismen.
Foreløpig er dette bare et patent, ikke et ferdig produkt. Selskaper registrerer jevnlig patenter for lovende utviklinger, hvor mange aldri når masseproduksjon eller endres betydelig før lansering. Likevel viser patentpubliseringen at Honor driver forskning på komplekse multi-hengsel-skjermer og offisielt dokumenterer arbeidet sitt.
Interessen for slike formfaktorer øker mot bakgrunn av intens konkurranse i foldbar-enhetssegmentet. Nylig lanserte Huawei en produksjonsmodell med en tredoble-folding-skjerm, noe som intensiverer rivaliseringen blant kinesiske merker. Potensielt kan denne mekanismen pakke en skjerm som kan sammenlignes med en liten bærbar PC inn i en smarttelefonstor kropp. Imidlertid gjenstår spørsmål om holdbarhet, foldkvalitet og, ikke minst, pris – disse faktorene vil avgjøre om konseptet beveger seg utover laboratoriet.