Xiaomi zu Speicherchip-Preisen: Auswirkungen auf Smartphones und Elektronik
Xiaomi-Chef Lei Jun erklärt, wie KI-Technologie die Nachfrage nach Speicherchips erhöht, zu Lieferengpässen führt und Smartphone-Kosten treibt. Erfahren Sie mehr.
Xiaomi zu Speicherchip-Preisen: Auswirkungen auf Smartphones und Elektronik
Xiaomi-Chef Lei Jun erklärt, wie KI-Technologie die Nachfrage nach Speicherchips erhöht, zu Lieferengpässen führt und Smartphone-Kosten treibt. Erfahren Sie mehr.
OnePlus 15T: 7.500-mAh-Akku und starke Leistung im kompakten Design
Das OnePlus 15T bietet einen riesigen 7.500-mAh-Akku, Snapdragon 8 Elite Gen 5, 16 GB RAM und schnelles Laden. Erfahre mehr über das kompakte Flaggschiff.
HyperOS 3.1 von Xiaomi: Stabiles Update mit Android 16 für Geräte
Xiaomi rollt HyperOS 3.1 basierend auf Android 16 aus. Das Update erhöht Systemstabilität, optimiert die Oberfläche und behebt Fehler für Geräte wie Xiaomi 17 und Redmi K90 Pro Max.
Infinix NOTE 60 Ultra mit Pininfarina-Design und innovativer Technik
Entdecken Sie das Infinix NOTE 60 Ultra, entwickelt mit Pininfarina. 200-MP-Kamera, Satellitenkommunikation, 7000-mAh-Akku und elegantes Design. Jetzt mehr erfahren!
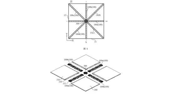
Honor Patent: Faltbares Smartphone mit vier Biegestellen im Origami-Stil
Honor hat ein Patent für ein faltbares Smartphone mit vier Biegestellen angemeldet. Das Gerät im Origami-Stil verwandelt sich von einem großen Display in ein kompaktes Format. Erfahren Sie mehr über die Technik und Marktchancen.
GeForce RTX 3060 Rückkehr: Gerüchte über neue Lieferungen im März
Gerüchte besagen, dass die GeForce RTX 3060-Grafikkarten ab März wieder geliefert werden könnten. Erfahren Sie mehr über mögliche Verfügbarkeit und Marktlage.
Nubia Fold: Faltbares Smartphone für 1000 Euro kommt global
Nubia bringt sein faltbares Smartphone Nubia Fold auf den globalen Markt. Mit 8-Zoll-Display, Snapdragon 8 Elite und 1000 Euro Preis wird es zum günstigsten Buchformat-Faltgerät.
Xiaomi plant jährliche Prozessor-Updates und KI-Assistenten für Smartphones
Xiaomi kündigt jährliche Updates für den eigenen Prozessor XRing an, um Unabhängigkeit von externen Chips zu stärken. Neue KI-Assistenten für internationale Märkte geplant.
Caviar Totem-Kollektion: Luxus-Smartphones mit Tierdesigns und Gold
Entdecken Sie die Caviar Totem-Kollektion für das Samsung Galaxy S26 Ultra, inspiriert von Tieren wie Pferd, Löwe, Wolf und Falke, mit 24-karätigem Gold und limitierter Auflage.
Apple M5 Super-Cores: Neue Architektur oder Marketing?
Erfahren Sie mehr über Apples M5-Chips mit Super-Cores und Fusion Architecture. Sind es echte Innovationen oder nur Marketing-Begriffe?
Galaxy Z TriFold: Akku-Kapazität fast verdoppelt durch Experiment
YouTuber Scotty Allen ersetzte den Standardakku des Galaxy Z TriFold durch eine Hochdichte-Silizium-Kohlenstoff-Zelle, erreichte 9.600 mAh und zeigt Potenzial für faltbare Smartphones.
Neue wasserbasierte Batterie: Umweltfreundlich und extrem langlebig
Forscher entwickeln eine wasserbasierte Batterie mit neutralem Elektrolyt, die 120.000 Ladezyklen hält und umweltfreundlich ist. Erfahren Sie mehr über diese sichere und langlebige Technologie.
OnePlus 15T: Robustes Flaggschiff mit IP-Schutz und Top-Hardware
Das OnePlus 15T bietet IP66 bis IP69K Schutz, Snapdragon 8 Elite Gen 5, 7500 mAh Akku und 200-MP-Kamera. Erfahre mehr über dieses robuste Smartphone.
MacBook Neo: Apples günstigstes Notebook mit A18 Pro Chip
Das MacBook Neo ist Apples neues günstiges Notebook mit 13-Zoll-Display, A18 Pro Chip, 16 Stunden Akkulaufzeit und macOS Tahoe. Jetzt vorbestellen!
Gefälschte Zoom-Seiten verbreiten Malware zur Überwachung
Malwarebytes deckt neue Phishing-Kampagne auf: Gefälschte Zoom-Seiten verbreiten Teramind-Malware zur verdeckten Nutzerüberwachung. Schützen Sie sich jetzt vor betrügerischen Downloads.
Android 16 QPR3 Update für Pixel: Stabilität und Leistung verbessert
Google veröffentlicht Android 16 QPR3 Update für Pixel-Modelle. Behebt 16 Probleme, erhöht Systemstabilität und verbessert Leistung, Kamera, Audio und Sicherheit.
Star Citizen: Cyberangriff auf Cloud Imperium Games - Nutzerdaten betroffen
Cloud Imperium Games bestätigt Cyberangriff auf Star Citizen-Systeme. Nutzerdaten wie Kontaktinfos und Namen wurden gestohlen. Erfahren Sie mehr über die Risiken und Reaktionen.
GPT-5.3 Instant: OpenAI aktualisiert ChatGPT mit neutralem Ton
OpenAI hat GPT-5.3 Instant veröffentlicht, eine aktualisierte Version von ChatGPT mit einem neutraleren Kommunikationsstil, basierend auf Nutzerfeedback.
Apple M5 Pro und M5 Max Prozessoren für MacBook Pro vorgestellt
Apple hat die M5 Pro und M5 Max Chips für MacBook Pro Laptops vorgestellt, mit bis zu 30 % mehr Leistung, KI-Beschleunigung und Energieeffizienz. Ideal für professionelle Anwendungen.
Neue MacBook Pro Modelle mit Apple M5 Pro und M5 Max Prozessoren
Apple stellt aktualisierte 14- und 16-Zoll MacBook Pro Modelle mit M5 Pro und M5 Max vor. Verbesserte KI-Grafik, schneller Speicher bis 128 GB und bis 24 Stunden Akkulaufzeit.